글로벌모빌리티

글로벌모빌리티

GM, 획기적 특허 출원..."차 안에서 ‘홀로그램'을 눈앞에 쏜다"

메뉴
0 공유

뉴스

GM, 획기적 특허 출원..."차 안에서 ‘홀로그램'을 눈앞에 쏜다"

육동윤 기자

기사입력 : 2024-12-21 09:05

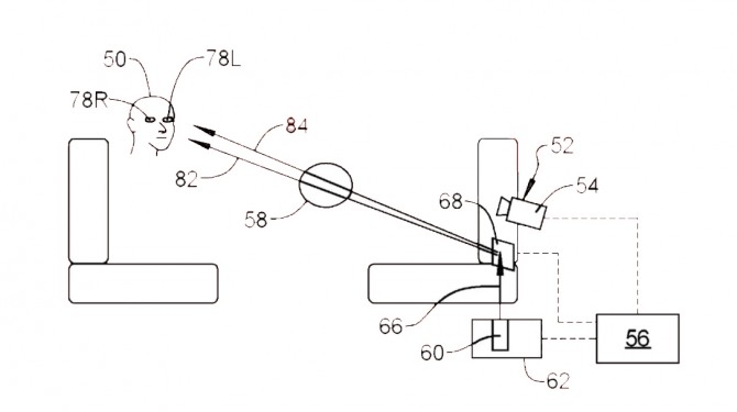
미국특허청에 등록된 이미지가 GM의 새로운 차 안 기술의 개념을 설명을 한다. 사진=미국특허청이미지 확대보기
미국특허청에 등록된 이미지가 GM의 새로운 차 안 기술의 개념을 설명을 한다. 사진=미국특허청
최근 제너럴 모터스(GM)가 제출한 특허가 자동차 업계에서 큰 화제를 모으고 있다. 특허는 차량 내부에서 홀로그램 '캠프파이어'를 만들어내는 기술이다. 단순히 화면이나 디스플레이에 영상을 띄우는 것이 아니라, 이미지를 승객의 눈에 직접 쏘아 입체적으로 보여주는 시스템을 설계한 것이다.

GM이 출원한 이 특허는 '오토스테레오스코픽 캠프파이어 디스플레이 비히클(Autostereoscopic Campfire Display for Vehicles)'이라는 다소 신비로운 이름을 달고 있다. 하지만 이름과 달리, 시스템은 꽤 복잡하다. 특허 문서는 무려 16페이지에 달하며, 그중 7페이지는 이해하기 어려운 도표와 기하학적 선들로 가득 차 있다.

핵심 원리는 다음과 같다. 승객 모니터링 시스템이 탑승자의 눈 위치를 파악하면, 공간 광변조기(spatial light modulator)와 빔 조향 장치(beam steering device)가 결합해 이미지를 각 승객의 눈에 직접 투사한다. 더 나아가, 이 시스템은 양쪽 눈에 서로 다른 이미지를 투사해 3D 효과를 만들어낸다.

이를테면, 우리가 어릴 적 접했던 3D 입체 그림처럼 두 눈의 초점을 맞추면 숨겨진 입체 이미지가 튀어나오는 원리와 비슷하다고 할 수 있다. GM의 시스템은 매우 혁신적이지만, 아직 실생활에서 구현될 가능성은 희박하다. 이 특허가 상정하는 차량은 레벨 4 또는 레벨 5 자율주행 기술을 갖춘 고도화된 미래형 자동차다. 즉, 운전자가 운전대를 잡을 필요가 없는 완전 자율주행 환경에서나 실현 가능하다는 의미다.

그럼에도 불구하고 이 기술이 상용화된다면 몇 가지 흥미로운 활용 사례를 상상해볼 수 있다. 맞춤형 엔터테인먼트 시스템, 안전한 내비게이션 시스템, 그리고 초보 운전자를 위한 실시간 가이드나 위험 요소를 입체적으로 표시하는 등의 운전 보조와 교육 기능이다.

GM의 특허는 분명 독특하고 혁신적인 아이디어다. 하지만 이런 기술이 현실에 적용되기까지는 수많은 난관이 남아 있다. 우선 직접 눈에 이미지를 쏘는 시스템에 대한 안전성 논란이 불가피하며, 승객의 눈 건강에 미칠 영향, 빔이 정확하게 눈에 투사되지 못했을 때의 오류도 해결해야 할 문제다.


육동윤 글로벌이코노믹 기자 ydy332@g-enews.com
<저작권자 © 글로벌모빌리티, 무단전재 및 재배포 금지>