글로벌모빌리티

글로벌모빌리티

GM, '테트리스형' 배터리로 효율성 한계 극복

메뉴
1 공유

이차전지

GM, '테트리스형' 배터리로 효율성 한계 극복

육동윤 글로벌모빌리티 기자

기사입력 : 2024-03-22 09:42

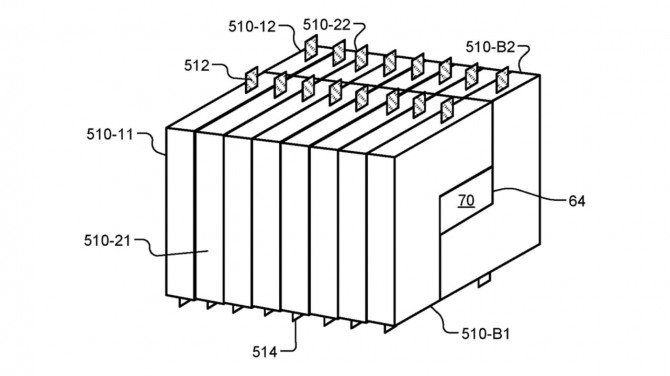
GM이 특허 신청한 'L'자형 결합 배터리셀 구조도 사진=GM 이미지 확대보기
GM이 특허 신청한 'L'자형 결합 배터리셀 구조도 사진=GM
제너럴 모터스(GM)가 자체 배터리 공장 네 곳을 운영할 계획을 세웠다. 그 중 하나는 이미 오하이오주 로즈타운에서 배터리 셀을 생산하고 있다. GM은 배터리를 자체 제조함으로써 맞춤형 구성과 형태를 실현할 수 있는 잠재력을 갖추길 원한다. 그리고 이를 극단적으로 활용하는 방안을 고려하고 있다.

20일 업계에 따르면 GM은 테트리스 블록처럼 생긴 비정형 구조로 효율적인 냉각 채널을 수용할 수 있도록 설계한 배터리를 특허 신청했다. 해당 특허는 현재 신청 단계에 있지만 최근 공개됐다. 업계에서는 나온 새로운 아이디어로 평가받고 있다.

특허는 GM의 현재 배터리 셀 냉각 방식을 설명하며 시작한다. 허머 EV와 같은 차량에서 셀의 바닥에 있는 냉각 판을 통해 모듈별로 냉각이 이루어진다고 한다. 그러나 이 방식은 불균일한 냉각을 초래해 배터리 수명이 단축될 수 있다는 것이 GM 측 주장이다.

이에 대한 대안으로 'L' 또는 'C' 형태의 셀을 만들어 두 셀을 결합하고 중간에 비는 공간에 쿨링 채널을 추가할 수 있는 터널을 만들겠다는 생각이다. GM은 또한 여러 가지 비정상적인 대각선 형태의 셀도 고려하고 있다.

자동차용 배터리 셀로는 이와 같은 형태가 없으며 제조 과정에서 상당한 도전이 있을 수 있다. GM은 이 방법이 냉각 문제를 해결할 수 있는 가능성이 있다고 믿고 있다. 회사는 직육면체 셀을 사용해 유사한 냉각 효과를 내는 다른 구성도 제안했다. 이 중 두 셀은 더 짧고 뚱뚱하며, 다른 두 셀은 더 길고 가늘어 사각형이나 H자형 냉각 채널을 형성할 수 있다. 중국의 톱밴드(Topband)와 같은 회사가 유사한 길고 가는 리튬 철 인산염 셀을 제작하고 있지만 GM이 고안한 형태의 셀은 드물다.

아이디어는 독특하면서도 일정한 가치가 있을 수 있으나 냉각을 위해 전혀 새로운 셀 형식을 개발하는 것이 전기차 개선에 효과적인 접근 방식인지는 아직 불분명하다. 그러나 회사가 이를 특허로 출원한 것은 적어도 개념적으로는 탐구할 가치가 있음을 시사한다.


육동윤 글로벌모빌리티 기자 ydy332@g-enews.com
<저작권자 © 글로벌모빌리티, 무단전재 및 재배포 금지>